1994 TAS — Section 4.10-4.19.6
Please note: The 2012 TAS became effective March 15, 2012. The 1994 TAS appears below for your convenience.
Section 4 - Accessible Elements and Spaces: Scope and Technical Requirements
4.10 Elevators.
4.10.1 General.
(1) Accessible elevators shall be on an accessible route and shall comply with 4.10 and with the ASME A17.1-1990, Safety Code for Elevators and Escalators. Freight elevators shall not be considered as meeting the requirements of this section unless the only elevators provided are used as combination passenger and freight elevators for the public and employees.
(2) For mounting heights suitable in schools and other facilities used primarily by children see section 2.1.1.
4.10.2 Automatic Operation. Elevator operation shall be automatic. Each car shall be equipped with a self-leveling feature that will automatically bring the car to floor landings within a tolerance of 1/2 in (13 mm) under rated loading to zero loading conditions. This self-leveling feature shall be automatic and independent of the operating device and shall correct the overtravel or undertravel.
4.10.3 Hall Call Buttons. Call buttons in elevator lobbies and halls shall be centered at 42 in (1065 mm) above the floor. Such call buttons shall have visual signals to indicate when each call is registered and when each call is answered. Call buttons shall be a minimum of 3/4 in (19 mm) in the smallest dimension. The button designating the up direction shall be on top. (See Fig. 20.) Buttons shall be raised or flush. Objects mounted beneath hall call buttons shall not project into the elevator lobby more than 4 in (100 mm).
4.10.4 Hall Lanterns. A visible and audible signal shall be provided at each hoistway entrance to indicate which car is answering a call. Audible signals shall sound once for the up direction and twice for the down direction or shall have verbal annunciators that say "up" or "down." Visible signals shall have the following features:
(1) Hall lantern fixtures shall be mounted so that their centerline is at least 72 in (1830 mm) above the lobby floor. (See Fig. 20.)
(2) Visual elements shall be at least 2-1/2 in (64 mm) in the smallest dimension.
(3) Signals shall be visible from the vicinity of the hall call button (see Fig. 20). In-car lanterns located in cars, visible from the vicinity of hall call buttons, and conforming to the above requirements, shall be acceptable.
4.10.5 Raised and Braille Characters on Hoistway Entrances. All elevator hoistway entrances shall have raised and Braille floor designations provided on both jambs. The centerline of the characters shall be 60 in (1525 mm) above finish floor. Such characters shall be 2 in (50 mm) high and shall comply with 4.30.4. Permanently applied plates are acceptable if they are permanently fixed to the jambs. (See Fig. 20).
4.10.6* Door Protective and Reopening Device. Elevator doors shall open and close automatically. They shall be provided with a reopening device that will stop and reopen a car door and hoistway door automatically if the door becomes obstructed by an object or person. The device shall be capable of completing these operations without requiring contact for an obstruction passing through the opening at heights of 5 in and 29 in (125 mm and 735 mm) above finish floor (see Fig. 20). Door reopening devices shall remain effective for at least 20 seconds. After such an interval, doors may close in accordance with the requirements of ASME A17.1-1990.
4.10.7* Door and Signal Timing for Hall Calls. The minimum acceptable time from notification that a car is answering a call until the doors of that car start to close shall be calculated from the following equation:
T = D/(1.5 ft/s) or T = D/(445 mm/s)
where T = total time in seconds and D = distance (in feet or millimeters) from a point in the lobby or corridor 60 in (1525 mm) directly in front of the farthest call button controlling that car to the centerline of its hoistway door (see Fig. 21). For cars with in-car lanterns, T begins when the lantern is visible from the vicinity of hall call buttons and an audible signal is sounded. The minimum acceptable notification time shall be 5 seconds.
4.10.8 Door Delay for Car Calls. The minimum time for elevator doors to remain fully open in response to a car call shall be 3 seconds.
4.10.9 Floor Plan of Elevator Cars. The floor area of elevator cars shall provide space for wheelchair users to enter the car, maneuver within reach of controls, and exit from the car. Acceptable door opening and inside dimensions shall be as shown in Fig. 22. The clearance between the car platform sill and the edge of any hoistway landing shall be no greater than 1-1/4 in (32 mm).

Fig. 20 Hoistway and Elevator Entrances
|

Fig. 21 Graphic of Timing Equation
|

(a)
|

(b)
|
| Fig. 22 Minimum Dimensions of Elevator Cars |
4.10.10 Floor Surfaces. Floor surfaces shall comply with 4.5.
4.10.11 Illumination Levels. The level of illumination at the car controls, platform, and car threshold and landing sill shall be at least 5 footcandles (53.8 lux).
4.10.12* Car Controls. Elevator control panels shall have the following features:
(1) Buttons. All control buttons shall be at least 3/4 in (19 mm) in their smallest dimension. They shall be raised or flush.
(2) Tactile, Braille, and Visual Control Indicators. All control buttons shall be designated by Braille and by raised standard alphabet characters for letters, arabic characters for numerals, or standard symbols as shown in Fig. 23(a), and as required in ASME A17.1-1990. Raised and Braille characters and symbols shall comply with 4.30. The call button for the main entry floor shall be designated by a raised star at the left of the floor designation (see Fig. 23(a)). All raised designations for control buttons shall be placed immediately to the left of the button to which they apply. Applied plates, permanently attached, are an acceptable means to provide raised control designations. Floor buttons shall be provided with visual indicators to show when each call is registered. The visual indicators shall be extinguished when each call is answered.
(3) Height. All floor buttons shall be no higher than 54 in (1370 mm) above the finish floor for side approach and 48 in (1220 mm) for front approach. Emergency controls, including the emergency alarm and emergency stop, shall be grouped at the bottom of the panel and shall have their centerlines no less than 35 in (890 mm) above the finish floor (see Fig. 23(a) and 23(b)).
(4) Location. Controls shall be located on a front wall if cars have center opening doors, and at the side wall or at the front wall next to the door if cars have side opening doors (see Fig. 23(c) and 23(d)).
4.10.13* Car Position Indicators. In elevator cars, a visual car position indicator shall be provided above the car control panel or over the door to show the position of the elevator in the hoistway. As the car passes or stops at a floor served by the elevators, the corresponding numerals shall illuminate, and an audible signal shall sound. Numerals shall be a minimum of 1/2 in (13 mm) high. The audible signal shall be no less than 20 decibels with a frequency no higher than 1500 Hz. An automatic verbal announcement of the floor number at which a car stops or which a car passes may be substituted for the audible signal.
4.10.14* Emergency Communications. If provided, emergency two-way communication systems between the elevator and a point outside the hoistway shall comply with ASME A17.1-1990. The highest operable part of a two-way communication system shall be a maximum of 48 in (1220 mm) from the floor of the car. It shall be identified by a raised symbol and lettering complying with 4.30 and located adjacent to the device. If the system uses a handset then the length of the cord from the panel to the handset shall be at least 29 in (735 mm). If the system is located in a closed compartment the compartment door hardware shall conform to 4.27 Controls and Operating Mechanisms. The emergency intercommunication system shall not require voice communication.

(a) Panel Detail
|

(b) Car Height Control
|

(c) Alternate Locations of Panels with Center Opening Door
|

(d) Alternate Locations of Panels with Side Opening Door
|
| Fig. 23 Car Controls |
4.11 Platform Lifts (Wheelchair Lifts).
4.11.1 Location. Platform lifts (wheelchair lifts) permitted by 4.1 shall comply with the requirements of 4.11.
4.11.2* Other Requirements. If platform lifts (wheelchair lifts) are used, they shall comply with 4.2.4, 4.5, 4.27, ASME A17.1 Safety Code for Elevators and Escalators, Section XX, 1990, and the following:
(1) Controls and operating mechanisms shall be located so that either a forward or side approach reach is possible from any direction of travel and shall be mounted between 28 in and 48 in (710 mm and 1220 mm) above the platform floor. All control devices shall be operable with one hand. For mounting heights in schools and other facilities used primarily by children see section 2.1.1.
(2) There shall be at least one handrail or other gripping surface complying with section 4.26.
(3) Wheelstops and guardrails shall be provided wherever necessary to prevent wheelchairs from rolling or slipping off the platform edge.
4.11.3 Entrance. If platform lifts are used then they shall facilitate unassisted entry, operation, and exit from the lift in compliance with 4.11.2
4.12 Windows.
4.12.1* General. (Reserved).
4.12.2 Window Hardware. (Reserved).
4.13 Doors.
4.13.1 General. Doors required to be accessible by 4.1 shall comply with the requirements of 4.13.
4.13.2 Revolving Doors and Turnstiles. Revolving doors or turnstiles shall not be the only means of passage at an accessible entrance or along an accessible route. An accessible gate or door shall be provided adjacent to the turnstile or revolving door and shall be so designed as to facilitate the same use pattern.
4.13.3 Gates. Gates, including ticket gates, shall meet all applicable specifications of 4.13.
4.13.4 Double-Leaf Doorways. If doorways have two independently operated door leaves, then at least one leaf shall meet the specifications in 4.13.5 and 4.13.6. That leaf shall be an active leaf.
4.13.5 Clear Width. Doorways shall have a minimum clear opening of 32 in (815 mm) with the door open 90 degrees, measured between the face of the door and the opposite stop (see Fig. 24(a), 24(b), 24(c), and 24(d)). Openings more than 24 in (610 mm) in depth shall comply with 4.2.1 and 4.3.3 (see Fig. 24(e)).
EXCEPTION: Doors not requiring full user passage, such as shallow closets, may have the clear opening reduced to 20 in (510 mm) minimum.
4.13.6 Maneuvering Clearances at Doors. Minimum maneuvering clearances at doors that are not automatic or power-assisted shall be as shown in Fig. 25. The floor or ground area within the required clearances shall be level and clear.
EXCEPTION: Entry doors to acute care hospital bedrooms for in-patients shall be exempted from the requirement for space at the latch side of the door (see dimension "x" in Fig. 25) if the door is at least 44 in (1120 mm) wide.
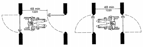
4.13.7 Two Doors in Series. The minimum space between two hinged or pivoted doors in series shall be 48 in (1220 mm) plus the width of any door swinging into the space. Doors in series shall swing either in the same direction or away from the space between the doors (see Fig. 26).
4.13.8* Thresholds at Doorways. Thresholds at doorways shall not exceed 3/4 in (19 mm) in height for exterior sliding doors or 1/2 in (13 mm) for other types of doors. Raised thresholds and floor level changes at accessible doorways shall be beveled with a slope no greater than 1:2 (see 4.5.2).
4.13.9* Door Hardware. Handles, pulls, latches, locks, and other operating devices on accessible doors shall have a shape that is easy to grasp with one hand and does not require tight grasping, tight pinching, or twisting of the wrist to operate. Lever-operated mechanisms, push-type mechanisms, and U-shaped handles are acceptable designs. When sliding doors are fully open, operating hardware shall be exposed and usable from both sides. Hardware required for accessible door passage shall be mounted no higher than 48 in (1220 mm) above finished floor.
4.13.10* Door Closers. If a door has a closer, then the sweep period of the closer shall be adjusted so that from an open position of 70 degrees, the door will take at least 3 seconds to move to a point 3 in (75 mm) from the latch, measured to the leading edge of the door.
4.13.11* Door Opening Force. The maximum force for pushing or pulling open a door shall be as follows:
(1) Fire doors shall have the minimum opening force allowable by the appropriate administrative authority.
(2) Other Doors.
(a) exterior hinged doors: (Reserved).
(b) interior hinged doors: 5 lbf (22.2N)
(c) sliding or folding doors: 5 lbf (22.2N)
These forces do not apply to the force required to retract latch bolts or disengage other devices that may hold the door in a closed position.
4.13.12* Automatic Doors and Power-Assisted Doors. If an automatic door is used, then it shall comply with ANSI/BHMA A156.10-1985. Slowly opening, low-powered, automatic doors shall comply with ANSI A156.19-1984. Such doors shall not open to back check faster than 3 seconds and shall require no more than 15 lbf (66.6N) to stop door movement. If a power-assisted door is used, its door-opening force shall comply with 4.13.11 and its closing shall conform to the requirements in ANSI A156.19-1984. If user-operated controls are provided they shall comply with section 4.27.
4.14 Entrances.
4.14.1 Minimum Number. Entrances required to be accessible by 4.1 shall be part of an accessible route complying with 4.3. Such entrances shall be connected by an accessible route to public transportation stops, to accessible parking and passenger loading zones, and to public streets or sidewalks if available (see 4.3.2(1)). They shall also be connected by an accessible route to all accessible spaces or elements within the building or facility.
4.14.2 Service Entrances. A service entrance shall not be the sole accessible entrance unless it is the only entrance to a building or facility (for example, in a factory or garage).
4.15 Drinking Fountains and Water Coolers.
4.15.1 General.
(1) Minimum Number. Drinking fountains or water coolers required to be accessible by 4.1 shall comply with 4.15.
(2) For mounting heights suitable in schools and other facilities used primarily by children see section 2.1.1.
4.15.2* Spout Height. Spouts shall be no higher than 36 in (915 mm), measured from the floor or ground surfaces to the spout outlet (see Fig. 27(a)).
4.15.3 Spout Location. The spouts of drinking fountains and water coolers shall be at the front of the unit and shall direct the water flow in a trajectory that is parallel or nearly parallel to the front of the unit. The spout shall provide a flow of water at least 4 in (100 mm) high so as to allow the insertion of a cup or glass under the flow of water. On an accessible drinking fountain with a round or oval bowl, and on an accessible drinking fountain providing only a parallel approach complying with 4.15.5(2), the spout must be positioned so the flow of water is within 3 in (75 mm) of the front edge of the fountain.
4.15.4 Controls. Controls shall comply with 4.27.4. Unit controls shall be front mounted or side mounted near the front edge.
4.15.5* Clearances.
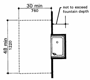
(1) Wall- and post-mounted cantilevered units shall have a clear knee space between the bottom of the apron and the floor or ground at least 27 in (685 mm) high, 30 in (760 mm) wide, and 17 in to 19 in (430 mm to 485 mm) deep (see Fig. 27(a) and 27(b)). Such units shall also have a minimum clear floor space 30 in by 48 in (760 mm by 1220 mm) to allow a person in a wheelchair to approach the unit facing forward.
(2) Free-standing or built-in units not having a clear space under them shall have a clear floor space at least 30 in by 48 in (760 mm by 1220 mm) that allows a person in a wheelchair to make a parallel approach to the unit (see Fig. 27(c) and 27(d)). This clear floor space shall comply with 4.2.4.
4.16 Water Closets.
4.16.1 General.
(1) Accessible water closets shall comply with 4.16.
(2) For mounting heights suitable in schools and other facilities used primarily by children see section 2.1.1.
4.16.2 Clear Floor Space. Clear floor space for water closets not in stalls shall comply with Fig. 28. Clear floor space may be arranged to allow either a left-handed or right-handed approach.
4.16.3 Height*. The height of water closets shall be 17 in to 19 in (430 mm to 485 mm), measured to the top of the toilet seat (see Fig. 29(b)). Seats shall not be sprung to return to a lifted position.
4.16.4* Grab Bars. Grab bars for water closets not located in stalls shall comply with 4.26 and Fig. 29. The grab bar behind the water closet shall be 36 in (915 mm) minimum.
4.16.5* Flush Controls. Flush controls shall be hand operated or automatic and shall comply with 4.27.4. Controls for flush valves shall be mounted on the wide side of toilet areas no more than 44 in (1120 mm) above the floor.
4.16.6 Dispensers. Toilet paper dispensers shall be installed within reach, as shown in Fig. 29(b). Dispensers that control delivery, or that do not permit continuous paper flow, shall not be used.
   |
| Fig. 28 Clear Floor Space at Water Closets |
|

(a) Back Wall
|

(b) Side Wall
|
| Fig. 29 Grab Bars at Water Closets |
4.17 Toilet Stalls.
4.17.1 Location. Accessible toilet stalls shall be on an accessible route and shall meet the requirements of 4.17.
4.17.2 Water Closets. Water closets in accessible stalls shall comply with 4.16.
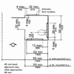
4.17.3* Size and Arrangement. The size and arrangement of the standard toilet stall shall comply with Fig. 30(a), Standard Stall. Standard toilet stalls with a minimum depth of 56 in (1420 mm) (see Fig. 30(a)) shall have wall-mounted water closets. If the depth of a standard toilet stall is increased at least 3 in (75 mm), then a floor-mounted water closet may be used. Arrangements shown for standard toilet stalls may be reversed to allow either a left- or right-hand approach. Additional stalls shall be provided in conformance with 4.22.4.
EXCEPTION: In instances of alteration work where provision of a standard stall (Fig. 30(a)) is technically infeasible or where local plumbing code requirements1 prevent combining existing stalls to provide space, either alternate stall (Fig. 30(b)) may be provided in lieu of the standard stall.
1 In all instances involving "local authority", "local requirements", "local regulations", "local fire departments", evidence of such requirements, compliance, approval, or acceptance as appropriate for the condition, shall accompany the plans and specifications when submitted to the commission for review and approval.
4.17.4 Toe Clearances. In standard stalls, the front partition and at least one side partition shall provide a toe clearance of at least 9 in (230 mm) above the floor. If the depth of the stall is greater than 60 in (1525 mm), then the toe clearance is not required.
4.17.5* Doors. Toilet stall doors, including door hardware, shall comply with 4.13. If toilet stall approach is from the latch side of the stall door, clearance between the door side of the stall and any obstruction may be reduced to a minimum of 42 in (1065 mm) (Fig. 30).
4.17.6 Grab Bars. Grab bars complying with the length and positioning shown in Fig. 30(a), 30(b), 30(c), and 30(d) shall be provided. Grab bars may be mounted with any desired method as long as they have a gripping surface at the locations shown and do not obstruct the required clear floor area. Grab bars shall comply with 4.26.

(a) Standard Stall
|

(a-1) Standard Stall (end of row)
|

(b) Alternate Stalls
|

(c) Rear Wall of Standard Stall
|

(d) Side Walls
|
| Fig. 30 Toilet Stalls |
4.18 Urinals.
4.18.1 General.
(1) Accessible urinals shall comply with 4.18.
(2) For mounting heights suitable in schools and other facilities used primarily by children see section 2.1.1.
4.18.2 Height. Urinals shall be stall-type, or wall-hung with a tapered elongated rim mounted at a maximum of 17 in (430 mm) above the finish floor. A tapered elongated rim is one that narrows toward the front to allow a wheelchair user to straddle the basin and which extends at least 14" from the vertical surface on which the fixture is mounted.
4.18.3 Clear Floor Space. A clear floor space 30 in by 48 in (760 mm by 1220 mm) shall be provided in front of urinals to allow forward approach. This clear space shall adjoin or overlap an accessible route and shall comply with 4.2.4. Urinals installed in alcoves deeper than 24 in require additional maneuvering area (see Figure 4(e)). Urinal shields that do not extend beyond the front edge of the urinal rim may be provided with 29 in (735 mm) clearance between them.
4.18.4 Flush Controls. Flush controls shall be hand operated or automatic, and shall comply with 4.27.4, and shall be mounted no more than 44 in (1120 mm) above the finish floor.
4.19 Lavatories and Mirrors.
4.19.1 General.
(1) The requirements of 4.19 shall apply to lavatory fixtures, vanities, built-in lavatories, and mirrors.
(2) For mounting heights and faucet reach-ranges suitable in schools and other facilities used primarily by children see section 2.1.1.
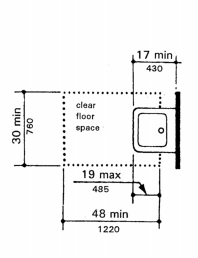
4.19.2 Height and Clearances. Lavatories shall be mounted with the rim or counter surface no higher than 34 in (865 mm) above the finish floor. Provide a clearance of at least 29 in (735 mm) above the finish floor to the bottom of the apron. Knee and toe clearance shall comply with Fig. 31.
4.19.3 Clear Floor Space. A clear floor space 30 in by 48 in (760 mm by 1220 mm) complying with 4.2.4 shall be provided in front of a lavatory to allow forward approach. Lavatories and mirrors installed in alcoves deeper than 24 in require additional maneuvering area (see Figure 4(e)). Such clear floor space shall adjoin or overlap an accessible route and shall extend a maximum of 19 in (485 mm) underneath the lavatory (see Fig. 32).
4.19.4 Exposed Pipes and Surfaces. Hot water and drain pipes under lavatories shall be insulated or otherwise configured to protect against contact. There shall be no sharp or abrasive surfaces under lavatories.
4.19.5 Faucets. Faucets shall comply with 4.27.4. Lever-operated, push-type, and electronically controlled mechanisms are examples of acceptable designs. If self-closing valves are used the faucet shall remain open for at least 10 seconds.
4.19.6* Mirrors. Mirrors shall be on accessible routes at locations consistent with that of other mirrors in the same room, and shall be mounted with the bottom edge of the reflecting surface no higher than 40 in (1015 mm) above the finish floor (see Fig. 31). Mirrors that are intended to be used by both ambulatory people and wheelchair users, such as might be provided in a single-occupancy toilet room or any toilet room having only one mirror, must be at least 74 in (1880 mm) high at their topmost edge.

Fig. 31 Lavatory Clearances
|

Fig. 32 Clear Floor Space for Lavatories
|