1994 TAS — Section 4.20-4.29.7
Please note: The 2012 TAS became effective March 15, 2012. The 1994 TAS appears below for your convenience.
Section 4 - Accessible Elements and Spaces: Scope and Technical Requirements
4.20 Bathtubs.
4.20.1 General.
(1) Accessible bathtubs shall comply with 4.20.
(2) For mounting heights suitable in schools and other facilities used primarily by children see section 2.1.1.
4.20.2 Floor Space. Clear floor space in front of bathtubs shall be as shown in Fig. 33.
4.20.3 Seat. An in-tub seat or a seat at the head end of the tub shall be provided as shown in Fig. 33 and 34. The structural strength of seats and their attachments shall comply with 4.26.3. Seats shall be mounted securely and shall not slip during use.
4.20.4 Grab Bars. Grab bars complying with 4.26 shall be provided as shown in Fig. 33 and 34.
4.20.5 Controls. Faucets and other controls complying with 4.27.4 shall be located as shown in Fig. 34.
4.20.6 Shower Unit. A shower spray unit with a hose at least 60 in (1525 mm) long that can be used both as a fixed shower head and as a hand-held shower shall be provided. The mounting device for the hand-held shower head shall comply with 4.2.5 Forward Reach.
4.20.7 Bathtub Enclosures. If provided, enclosures for bathtubs shall not obstruct controls or transfer from wheelchairs onto bathtub seats or into tubs. Enclosures on bathtubs shall not have tracks mounted on their rims.
4.21 Shower Stalls.
4.21.1* General.
(1) Accessible shower stalls shall comply with 4.21.
(2) For mounting heights in schools and other facilities used primarily by children see section 2.1.1.
4.21.2 Size and Clearances. Except as specified in 9.1.2, shower stall size and clear floor space shall comply with Fig. 35(a) or 35(b). The shower stall in Fig. 35(a) shall be 36 in by 36 in (915 mm by 915 mm). Shower stalls required by 9.1.2 shall comply with Fig. 57(a) or 57(b). The shower stall in Fig. 35(b) will fit into the space required for a bathtub.
4.21.3 Seat. A seat shall be provided in shower stalls 36 in by 36 in (915 mm by 915 mm) and shall be as shown in Fig. 36. The seat shall be mounted 17 in to 19 in (430 mm to 485 mm) from the bathroom floor and shall extend the full depth of the stall. In a 36 in by 36 in (915 mm by 915 mm) shower stall, the seat shall be on the wall opposite the controls. Where a fixed seat is provided in a 30 in by 60 in minimum (760 mm by 1525 mm) shower stall, it shall be a folding type and shall be mounted on the wall adjacent to the controls as shown in Fig. 57. The structural strength of seats and their attachments shall comply with 4.26.3.
4.21.4 Grab Bars. Grab bars complying with 4.26 shall be provided as shown in Fig. 37.
4.21.5 Controls. Faucets and other controls complying with 4.27.4 shall be located as shown in Fig. 37. In shower stalls 36 in by 36 in (915 mm by 915 mm), all controls, faucets, and the shower unit shall be mounted on the side wall opposite the seat.
4.21.6 Shower Unit. A shower spray unit with a hose at least 60 in (1525 mm) long that can be used both as a fixed shower head and as a hand-held shower shall be provided. In a 36 in by 36 in (915 mm by 915 mm) shower stall the mounting device for the hand-held shower head shall comply with 4.2.5 Forward Reach. In a 30 in by 60 in minimum (760 mm by 1525 mm) shower stall the mounting device for the hand-held shower head shall comply with either 4.2.5 Forward Reach or 4.2.6 Side Reach, as appropriate for the stall design.
EXCEPTION: In unmonitored facilities where vandalism is a consideration, a fixed shower head mounted at 48 in (1220 mm) above the shower floor may be used in lieu of a hand-held shower head.
4.21.7 Curbs. If provided, curbs in shower stalls 36 in by 36 in (915 mm by 915 mm) shall be no higher than 1/2 in (13 mm). Shower stalls that are 30 in by 60 in (760 mm by 1525 mm) minimum shall not have curbs.
4.21.8 Shower Enclosures. If provided, enclosures for shower stalls shall not obstruct controls or obstruct transfer from wheelchairs onto shower seats.

(a) 36-in by 36-in (915-mm by 915-mm) Stall
|

(b) 30-in by 60-in (760-mm by 1525-mm) Stall
|
| Fig. 35 Shower Size and Clearances |
|
 |
| Fig. 36 Shower Seat Design |
|

(a) 36-in by 36-in (915-mm by 915-mm) Stall
|

(b) 30-in by 60-in (760-mm by 1525-mm) Stall
|
| Fig. 37 Grab Bars at Shower Stalls |
4.22 Toilet Rooms.
4.22.1 Minimum Number. Toilet facilities required to be accessible by 4.1 shall comply with 4.22. Accessible toilet rooms shall be on an accessible route.
4.22.2 Doors. All doors to accessible toilet rooms shall comply with 4.13. Doors shall not swing into the clear floor space required for any fixture.
4.22.3* Clear Floor Space. The accessible fixtures and controls required in 4.22.4, 4.22.5, 4.22.6, and 4.22.7 shall be on an accessible route. An unobstructed turning space complying with 4.2.3 shall be provided within an accessible toilet room. The clear floor space at fixtures and controls, the accessible route, and the turning space may overlap, however; the only turning space provided shall not be located within a stall.
4.22.4 Water Closets. If toilet stalls are provided, then at least one shall be a standard toilet stall complying with 4.17; where 6 or more stalls are provided, in addition to the stall complying with 4.17.3, at least one stall 36 in (915 mm) wide with an outward swinging, self-closing door and parallel grab bars complying with Fig. 30(d) and 4.26 shall be provided. Water closets in such stalls shall comply with 4.16. If water closets are not in stalls, then at least one shall comply with 4.16.
4.22.5 Urinals. If urinals are provided, then at least one shall comply with 4.18.
4.22.6 Lavatories and Mirrors. If lavatories and mirrors are provided, then at least one of each shall comply with 4.19. Accessible lavatories and mirrors shall not be located within toilet stalls unless other accessible lavatories and mirrors are provided in the toilet room.
4.22.7 Controls and Dispensers. If controls, dispensers, receptacles, or other equipment are provided, then at least one of each shall be on an accessible route and shall comply with 4.27.
4.23 Bathrooms, Bathing Facilities, and Shower Rooms.
4.23.1 Minimum Number. Bathrooms, bathing facilities, or shower rooms required to be accessible by 4.1 shall comply with 4.23 and shall be on an accessible route.
4.23.2 Doors. Doors to accessible bathrooms shall comply with 4.13. Doors shall not swing into the floor space required for any fixture.
4.23.3* Clear Floor Space. The accessible fixtures and controls required in 4.23.4, 4.23.5, 4.23.6, 4.23.7, 4.23.8, and 4.23.9 shall be on an accessible route. An unobstructed turning space complying with 4.2.3 shall be provided within an accessible bathroom, bathing facility, or shower room. The clear floor spaces at fixtures and controls, the accessible route, and the turning space may overlap; however, in rooms and facilities with stalls, the floor area within stalls cannot be used to satisfy the turning space requirement.
4.23.4 Water Closets. If toilet stalls are provided, then at least one shall be a standard toilet stall complying with 4.17; where 6 or more stalls are provided, in addition to the stall complying with 4.17.3, at least one stall 36 in (915 mm) wide with an outward swinging, self-closing door and parallel grab bars complying with Fig. 30(d) and 4.26 shall be provided. Water closets in such stalls shall comply with 4.16. If water closets are not in stalls, then at least one shall comply with 4.16.
4.23.5 Urinals. If urinals are provided, then at least one shall comply with 4.18.
4.23.6 Lavatories and Mirrors. If lavatories and mirrors are provided, then at least one of each shall comply with 4.19. Accessible lavatories and mirrors shall not be located within toilet stalls unless other accessible lavatories and mirrors are provided in the bathroom, bathing facility or shower room.
4.23.7 Controls and Dispensers. If controls, dispensers, receptacles, or other equipment are provided, then at least one of each shall be on an accessible route and shall comply with 4.27.
4.23.8 Bathing and Shower Facilities. If tubs or showers are provided, then at least one accessible tub that complies with 4.20 or at least one accessible shower that complies with 4.21 shall be provided.
4.23.9* Medicine Cabinets. If medicine cabinets are provided, at least one shall be located with a usable shelf no higher than 44 in (1120 mm) above the floor space. The floor space shall comply with 4.2.4.
4.24.1 General.
(1) Sinks required to be accessible by 4.1 shall comply with 4.24.
(2) For mounting heights and faucet reach-ranges suitable in schools and other facilities used primarily by children see section 2.1.1.
4.24.2 Height. Sinks shall be mounted with the counter or rim no higher than 34 in (865 mm) above the finish floor.
4.24.3 Knee Clearance. Knee clearance that is at least 27 in (685 mm) high, 30 in (760 mm) wide, and 19 in (485 mm) deep shall be provided underneath sinks.
4.24.4 Depth. Each sink shall be a maximum of 6-1/2 in (165 mm) deep.
4.24.5 Clear Floor Space. A clear floor space at least 30 in by 48 in (760 mm by 1220 mm) complying with 4.2.4 shall be provided in front of a sink to allow forward approach. Sinks installed in alcoves deeper than 24 in require additional maneuvering area (see Figure 4(e)). The clear floor space shall be on an accessible route and shall extend a maximum of 19 in (485 mm) underneath the sink (see Fig. 32).
4.24.6 Exposed Pipes and Surfaces. Hot water and drain pipes exposed under sinks shall be insulated or otherwise configured so as to protect against contact. There shall be no sharp or abrasive surfaces under sinks.
4.24.7 Faucets. Faucets shall comply with 4.27.4. Lever-operated, push-type, touch-type, or electronically controlled mechanisms are acceptable designs.
4.25 Storage.
4.25.1 General.
(1) Fixed storage facilities such as cabinets, shelves, closets, and drawers required to be accessible by 4.1 shall comply with 4.25.
(2) For mounting heights suitable in schools and other facilities used primarily by children see section 2.1.1.
4.25.2 Clear Floor Space. A clear floor space at least 30 in by 48 in (760 mm by 1220 mm) complying with 4.2.4 that allows either a forward or parallel approach by a person using a wheelchair shall be provided at accessible storage facilities. This clear floor space shall adjoin or overlap an accessible route and shall comply with 4.2.4. In storage facilities permitting full entry by a wheelchair, and allowing a wheelchair to travel clear of the door swing, an unobstructed turning space complying with 4.2.3 shall be provided within the storage facility.
4.25.3 Height. Accessible storage spaces shall be within at least one of the reach ranges specified in 4.2.5 and 4.2.6 (see Fig. 5 and Fig. 6). Clothes rods or shelves shall be a maximum of 54 in (1370 mm) above the finish floor for a side approach. Where the distance from the wheelchair to the clothes rod or shelf exceeds 10 in (255 mm) (as in closets without accessible doors) the height and depth to the rod or shelf shall comply with Fig. 38(a) and Fig. 38(b).
4.25.4 Hardware. Hardware for accessible storage facilities shall comply with 4.27.4. Touch latches and U-shaped pulls are acceptable.

(a) Shelves
|

(b) Closets
|
| Fig. 38 Storage Shelves and Closets |
4.26 Handrails, Grab Bars, and Tub and Shower Seats.
4.26.1* General. All handrails, grab bars, and tub and shower seats required to be accessible by 4.1, 4.8, 4.9, 4.16, 4.17, 4.20 or 4.21 shall comply with 4.26.
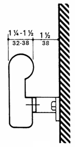
4.26.2* Size and Spacing of Grab Bars and Handrails. The nominal diameter or width of the gripping surfaces of a handrail or grab bar shall be 1-1/4 in to 1-1/2 in (32 mm to 38 mm), or the shape shall provide an equivalent gripping surface. If handrails or grab bars are mounted adjacent to a wall, the space between the wall and the grab bar shall be 1-1/2 in (38 mm) (see Fig. 39(a), 39(b), 39(c), and 39(e)). Handrails may be located in a recess if the recess is a maximum of 3 in (75 mm) deep and extends at least 18 in (455 mm) above the top of the rail (see Fig. 39(d)).
4.26.3 Structural Strength. The structural strength of grab bars, tub and shower seats, fasteners, and mounting devices shall meet the following specification:
(1) Bending stress in a grab bar or seat induced by the maximum bending moment from the application of 250 lbf (1112N) shall be less than the allowable stress for the material of the grab bar or seat.
(2) Shear stress induced in a grab bar or seat by the application of 250 lbf (1112N) shall be less than the allowable shear stress for the material of the grab bar or seat. If the connection between the grab bar or seat and its mounting bracket or other support is considered to be fully restrained, then direct and torsional shear stresses shall be totaled for the combined shear stress, which shall not exceed the allowable shear stress.
(3) Shear force induced in a fastener or mounting device from the application of 250 lbf (1112N) shall be less than the allowable lateral load of either the fastener or mounting device or the supporting structure, whichever is the smaller allowable load.
(4) Tensile force induced in a fastener by a direct tension force of 250 lbf (1112N) plus the maximum moment from the application of 250 lbf (1112N) shall be less than the allowable withdrawal load between the fastener and the supporting structure.
(5) Grab bars shall not rotate within their fittings.
4.26.4 Eliminating Hazards. A handrail or grab bar and any wall or other surface adjacent to it shall be free of any sharp or abrasive elements. Edges shall have a minimum radius of 1/8 in (3.2 mm).

(a) Handrail
|

(b) Handrail
|

(d) Handrail
|

(c) Handrail
|

(e) Grab Bar
|
| Fig. 39 Nominal Size and Spacing of Handrails and Grab Bars |
4.27 Controls and Operating Mechanisms.
4.27.1 General.
(1) Controls and operating mechanisms required to be accessible by 4.1 shall comply with 4.27.
(2) For mounting heights suitable in schools and other facilities used primarily by children see section 2.1.1.
4.27.2 Clear Floor Space. Clear floor space complying with 4.2.4 that allows a forward or a parallel approach by a person using a wheelchair shall be provided at controls, dispensers, receptacles, and other operable equipment. Controls and operating mechanisms located in alcoves deeper than 24" require additional maneuvering area (see Figure 4(e)).
4.27.3* Height. The highest operable part of controls, dispensers, receptacles, and other operable equipment shall be placed within at least one of the reach ranges specified in 4.2.5 and 4.2.6. Electrical and communications system receptacles on walls shall be mounted no less than 15 in (380 mm) above the floor.
EXCEPTION: These requirements do not apply where the use of special equipment dictates otherwise or where electrical and communications systems receptacles are not normally intended for use by building occupants.
4.27.4 Operation. Controls and operating mechanisms shall be operable with one hand and shall not require tight grasping, pinching, or twisting of the wrist. The force required to activate controls shall be no greater than 5 lbf (22.2 N).
4.28.1 General. Alarm systems required to be accessible by 4.1 shall comply with 4.28. At a minimum, visual signal appliances shall be provided in buildings and facilities in each of the following areas: restrooms and any other general usage areas (e.g., meeting rooms), hallways, lobbies, and any other area for common use.
4.28.2* Audible Alarms. If provided, audible emergency alarms shall produce a sound that exceeds the prevailing equivalent sound level in the room or space by at least 15 dbA or exceeds any maximum sound level with a duration of 60 seconds by 5 dbA, whichever is louder. Sound levels for alarm signals shall not exceed 120 dbA.
4.28.3* Visual Alarms. Visual alarm signal appliances shall be integrated into the building or facility alarm system. If single station audible alarms are provided then single station visual alarm signals shall be provided. Visual alarm signals shall have the following minimum photometric and location features:
(1) The lamp shall be a xenon strobe type or equivalent.
(2) The color shall be clear or nominal white (i.e., unfiltered or clear filtered white light).
(3) The maximum pulse duration shall be two-tenths of one second (0.2 sec) with a maximum duty cycle of 40 percent. The pulse duration is defined as the time interval between initial and final points of 10 percent of maximum signal.
(4) The intensity shall be a minimum of 75 candela.
(5) The flash rate shall be a minimum of 1 Hz and a maximum of 3 Hz.
(6) The appliance shall be placed 80 in (2030 mm) above the highest floor level within the space or 6 in (152 mm) below the ceiling, whichever is lower.
(7) In general, no place in any room or space required to have a visual signal appliance shall be more than 50 ft (15 m) from the signal (in the horizontal plane). In large rooms and spaces exceeding 100 ft (30 m) across, without obstructions 6 ft (2 m) above the finish floor, such as auditoriums, devices may be placed around the perimeter, spaced a maximum 100 ft (30 m) apart, in lieu of suspending appliances from the ceiling.
(8) No place in common corridors or hallways in which visual alarm signalling appliances are required shall be more than 50 ft (15 m) from the signal.
4.28.4* Auxiliary Alarms. Units and sleeping accommodations shall have a visual alarm connected to the building emergency alarm system or shall have a standard 110-volt electrical receptacle into which such an alarm can be connected and a means by which a signal from the building emergency alarm system can trigger such an auxiliary alarm. When visual alarms are in place the signal shall be visible in all areas of the unit or room. Instructions for use of the auxiliary alarm or receptacle shall be provided.
4.29 Detectable Warnings.
4.29.1 General. Detectable warnings required by 4.1 and 4.7 shall comply with 4.29.
4.29.2* Detectable Warnings on Walking Surfaces. Detectable warnings shall consist of raised truncated domes with a diameter of nominal 0.9 in (23 mm), a height of nominal 0.2 in (5 mm) and a center-to-center spacing of nominal 2.35 in (60 mm) and shall contrast visually with adjoining surfaces, either light-on-dark, or dark-on-light.
The material used to provide contrast shall be an integral part of the walking surface. Detectable warnings used on interior surfaces shall differ from adjoining walking surfaces in resiliency or sound-on-cane contact.
4.29.3 Detectable Warnings on Doors to Hazardous Areas. (RESERVED).
4.29.4 Detectable Warnings at Stairs. (RESERVED).
4.29.5 Detectable Warnings at Hazardous Vehicular Areas. (RESERVED)
4.29.6 Detectable Warnings at Reflecting Pools. (RESERVED)
4.29.7 Standardization. (RESERVED).